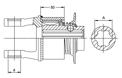
1367095 Sprzęgło jednokierunkowe Walterscheid (56.144.40) 1367095.98

1 633,95 
Towar chwilowo niedostępny.
Ocena: 0 na 6 (opinii: 0) Dodaj opinię
Podmiot odpowiedzialny za ten produkt na terytorium UE:
Podmiot odpowiedzialny:
Walterscheid GmbH, Hauptstraße 150, 53797 Lohmar, kraj: Niemcy, e-mail: mpressum(at)walterscheid.com
Opinie klientów zobacz: wszystkie opinie

Twoja opinia może być pierwsza.

Pokazuje 0-0 z 0 opinii
Uwaga!
* pola wymagane Dodaj opinię